ORFS SOMUNLU DÜZ
ORFS sistemlerinde düz bağlantı sağlayan hortum rakoru. Yüksek sızdırmazlık sağlayan O-ringli tasarıma sahiptir.
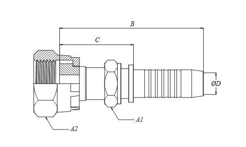
Teknik Özellikler
| MALZEME KODU MATERIAL CODE |
HORTUM ÖLÇÜSÜ HOSE SIZE |
SOMUN ÖLÇÜSÜ NUT SIZE |
B | C | ØD | A1 | A2 |
|---|---|---|---|---|---|---|---|
| KRPOSD-14916 | 06 / 1/4 | 9/16-18 | 52 | 27 | 4 | 13 | 19 |
| KRPOSD-141116 | 06 / 1/4 | 11/16-16 | 55 | 30 | 4 | 17 | 22 |
| KRPOSD-516916 | 08 / 5/16 | 9/16-18 | 54 | 27 | 5.5 | 13 | 19 |
| KRPOSD-5161116 | 08 / 5/16 | 11/16-16 | 57 | 30 | 5.5 | 17 | 22 |
| KRPOSD-381116 | 10 / 3/8 | 11/16-16 | 60 | 30 | 7 | 17 | 22 |
| KRPOSD-381316 | 10 / 3/8 | 13/16-16 | 64 | 34 | 7 | 19 | 24 |
| KRPOSD-121316 | 12 / 1/2 | 13/16-16 | 67.5 | 34.5 | 9 | 19 | 24 |
| KRPOSD-1211 | 12 / 1/2 | 1"-14 | 72 | 39 | 9 | 24 | 30 |
| KRPOSD-5811 | 16 / 5/8 | 1"-14 | 80 | 40 | 12 | 24 | 30 |
| KRPOSD-581316 | 16 / 5/8 | 1"3/16-12 | 83.5 | 43.5 | 12 | 30 | 36 |
| KRPOSD-341316 | 19 / 3/4 | 1"3/16-12 | 88 | 44 | 14 | 30 | 36 |
| KRPOSD-341716 | 19 / 3/4 | 1"7/16-12 | 91.5 | 47.5 | 14 | 36 | 41 |
| KRPOSD-111716 | 25 / 1" | 1"7/16-12 | 102.5 | 48.5 | 19 | 36 | 41 |
| KRPOSD-1111116 | 25 / 1" | 1"11/16-12 | 106 | 52 | 19 | 41 | 50 |
| KRPOSD-11411116 | 32 / 1"1/4 | 1"11/16-12 | 113 | 53.5 | 25 | 41 | 50 |