METRİK SOMUNLU 90°
Metrik bağlantı sistemlerinde 90° dönüş sağlayan hortum rakoru. Kompakt yapısıyla dar alanlarda montaj kolaylığı sunar.
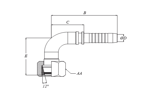
Teknik Özellikler
| MALZEME KODU MATERIAL CODE |
HORTUM ÖLÇÜSÜ HOSE SIZE |
SOMUN ÖLÇÜSÜ NUT SIZE |
B | C | E | ØD | AA | TİP L TYPE |
|---|---|---|---|---|---|---|---|---|
| KRPMSD90L-31612 | 05 / 3/16 | M12x1,5 | 45 | 25 | 31 | 3.2 | 14 | 6L |
| KRPMSD90L-31614 | 05 / 3/16 | M14x1,5 | 45 | 25 | 31 | 3.2 | 17 | 8L |
| KRPMSD90L-1412 | 06 / 1/4 | M12x1,5 | 50 | 25 | 33 | 4 | 17 | 6L |
| KRPMSD90L-1414 | 06 / 1/4 | M14x1,5 | 50 | 25 | 32 | 4 | 17 | 8L |
| KRPMSD90L-1416 | 06 / 1/4 | M16x1,5 | 50 | 25 | 32 | 4 | 19 | 10L |
| KRPMSD90L-1418 | 06 / 1/4 | M18x1,5 | 50 | 25 | 33 | 4 | 22 | 12L |
| KRPMSD90L-51614 | 08 / 5/16 | M14x1,5 | 55 | 28 | 35.5 | 5.5 | 19 | 8L |
| KRPMSD90L-51616 | 08 / 5/16 | M16x1,5 | 55 | 28 | 33 | 5.5 | 19 | 10L |
| KRPMSD90L-51618 | 08 / 5/16 | M18x1,5 | 55 | 28 | 33.5 | 5.5 | 22 | 12L |
| KRPMSD90L-3816 | 10 / 3/8 | M16x1,5 | 61.5 | 32.5 | 38 | 7 | 21 | 10L |
| KRPMSD90L-3818 | 10 / 3/8 | M18x1,5 | 61.5 | 32.5 | 35 | 7 | 22 | 12L |
| KRPMSD90L-3822 | 10 / 3/8 | M22x1,5 | 61.5 | 32.5 | 36 | 7 | 27 | 15L |
| KRPMSD90L-1218 | 12 / 1/2 | M18x1,5 | 69.5 | 37.5 | 43 | 9 | 22 | 12L |
| KRPMSD90L-1222 | 12 / 1/2 | M22x1,5 | 69.5 | 37.5 | 42 | 9 | 27 | 15L |
| KRPMSD90L-5826 | 16 / 5/8 | M26x1,5 | 84 | 45 | 47 | 12 | 32 | 18L |
| KRPMSD90L-3430 | 19 / 3/4 | M30x2 | 100 | 57 | 53 | 14 | 36 | 22L |
| KRPMSD90L-3436 | 19 / 3/4 | M36x2 | 100 | 57 | 56 | 14 | 41 | 28L |
| KRPMSD90L-1136 | 25 / 1" | M36x2 | 122 | 69 | 70 | 19 | 41 | 28L |
| KRPMSD90L-1145 | 25 / 1" | M45x2 | 122 | 69 | 78 | 19 | 50 | 35L |
| KRPMSD90L-11445 | 32 / 1"1/4 | M45x2 | 140 | 80 | 80 | 25 | 50 | 35L |
| KRPMSD90L-11452 | 32 / 1"1/4 | M52x2 | 140 | 80 | 82 | 25 | 60 | 42L |
| KRPMSD90L-11252 | 38 / 1"1/2 | M52x2 | 175 | 105 | 90 | 29 | 60 | 42L |